Blog: Backboon –
ein Möbelstück, das Bewegung in den Alltag bringt
16.12.2025
Die Höhle der Patente
In der Folge vom 7. Oktober 2024 der TV-Show "Die Höhle der Löwen" präsentierte Volker Groß seine innovative Stehwippe Backboon, die darauf abzielt, den gesundheitlichen Folgen des langen Sitzens entgegenzuwirken. Doch wie neuartig ist dieses Konzept wirklich, und welche Schutzrechte könnten hier relevant sein?
Was ist Backboon?
Backboon ist eine dynamische Stehhilfe, die durch sanftes Wippen den Körper in Bewegung hält und so die negativen Effekte des langen Sitzens reduziert. Sie fördert eine bessere Körperhaltung, stärkt die Stützmuskulatur und verbessert die Atmung. Eingesetzt werden kann sie in verschiedenen Bereichen wie Büro, Wartezimmer, Wohnzimmer, Kinderzimmer, Schulen und Unternehmen.
Innovation oder Weiterentwicklung?
Stehhilfen und Wippstühle sind etablierte Produkte, die sich bereits seit Jahren auf dem Markt befinden und vielfältig eingesetzt werden. Sie zielen darauf ab, die Ergonomie am Arbeitsplatz oder im Alltag zu verbessern, die Körperhaltung zu fördern und eine gesündere Sitz- und Stehweise zu unterstützen. Solche Produkte reichen von klassischen Stehhilfen, die das Gewicht des Körpers beim Stehen entlasten, bis hin zu Wippstühlen, die eine dynamische Sitzhaltung ermöglichen, indem sie leichte Bewegungen fördern und so Verspannungen vorbeugen. Im Detail existieren beispielsweise:
- Klassische Stehhilfen: Diese werden häufig in Büros oder an Steharbeitsplätzen genutzt. Sie bieten eine flexible Sitzgelegenheit, bei der der Benutzer zwischen Sitzen und Stehen wechseln kann. Ein bekanntes Beispiel hierfür ist der Muvman von Aeris, der eine flexible Sitzfläche und höhenverstellbare Optionen bietet.
- Wippstühle: Hierzu zählen Modelle wie der Balans-Stuhl von Varier. Diese Stühle unterstützen eine ergonomische Sitzhaltung durch ein Design, das eine leichte Vorwärtsneigung der Sitzfläche bietet und gleichzeitig die Beweglichkeit durch das Wippen fördert.
- Kombinationslösungen: Es gibt auch multifunktionale Produkte, die zwischen Sitz- und Stehoption wechseln können, wie etwa höhenverstellbare Bürohocker, die sowohl als Sitzgelegenheit als auch als Stehhilfe dienen können.
- Spezialisierte Designs: Für spezifische Bedürfnisse, etwa für Kinder in Schulen, existieren ergonomische Stühle und Stehhilfen, die auf die Anforderungen wachsender Körper zugeschnitten sind.
Differenzierung durch Backboon
Was Backboon einzigartig macht, ist die Verbindung dieser bereits bekannten Ansätze zu einem innovativen, multifunktionalen Produkt. Während viele bestehende Lösungen entweder auf Sitz- oder Stehkomfort fokussiert sind, vereint Backboon mehrere Vorteile in einem Produkt:
- Durchdachtes ergonomisches Design: Backboon kombiniert moderne ergonomische Erkenntnisse mit einer stilvollen und ansprechenden Gestaltung, die sich in verschiedene Umgebungen einfügt.
- Bewegungsförderung: Neben statischen Sitz- und Stehpositionen ermöglicht Backboon aktiv Bewegungen, die die Durchblutung fördern und den Körper dynamisch fordern.
- Vielseitige Einsatzmöglichkeiten: Anders als viele herkömmliche Produkte ist Backboon nicht nur auf eine spezifische Zielgruppe (wie Büroangestellte) beschränkt, sondern eignet sich auch für Schulen, Home-Offices oder den Wohnbereich.
Zusammengefasst ist Backboon weniger eine Neuerfindung der Kategorie, sondern eine innovative Weiterentwicklung, die bewährte Konzepte kombiniert und dadurch einen echten Mehrwert für den Nutzer schafft.
Stand der Technik
Aus dem Stand der Technik sind bereits zahlreiche Stehhilfen bekannt, die Menschen dabei unterstützen sollen, eine ergonomischere Haltung einzunehmen oder die Belastung durch langes Stehen zu verringern. Allerdings weisen diese Lösungen durchgehend ein zentrales Merkmal auf: Die Standfläche dieser Stehhilfen ist stets statisch oder starr gelagert. Dies bedeutet, dass sie keinerlei dynamische Eigenschaften besitzen, die den Nutzer aktiv zur Bewegung anregen würden.
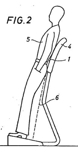
Ein genauerer Blick auf den Stand der Technik bestätigt dies. Hierin gibt es mehrere Stehhilfen, bei denen allerdings die jeweilige Standfläche keinerlei Wippeigenschaft bereitstellt (siehe Fig. 2 der D1, Fig. 6 der D2 und Fig. 2 der D3). In anderen Worten beschreibt der Stand der Technik lediglich statische Lösungen, die den Nutzer in einer festen Position belassen, ohne ihn aktiv zur Bewegung oder zum Balancieren zu animieren.

[Fig. 2 der D1]

[Fig. 6 der D2]

[Fig. 2 der D3]
Dies lässt eine Lücke in der bisherigen Technologie erkennen: Der Fokus liegt auf Stabilität und Unterstützung, während die dynamischen Aspekte, die Bewegungsförderung und das Training der Muskulatur, vernachlässigt werden.
Das Patent (DE102017120240B4)
Diese Lücke adressiert Backboon mit seinem innovativen Ansatz, bei dem die Standfläche gezielt Wippeigenschaften aufweist, um den Nutzer zu aktiven, mikrodynamischen Bewegungen zu animieren.
So löst der Backboon die statische/starre Lagerung aus dem Stand der Technik durch eine dynamische Lagerung ab.
Ganz speziell besteht ein besonderer Aspekt dabei darin (siehe Anspruch 1 des Backboon-Patents), dass eine gekrümmte Stützstruktur 12 ein Schaukeln der angelehnten Person ermöglicht, um die Neigung der Körperlängsachse der Person zu variieren (siehe Fig. 1 des Backboon-Patents).

[Fig. 1 des Backboon-Patents]
Fazit
Backboon ist mehr als nur ein weiteres ergonomisches Produkt – es ist eine Antwort auf ein wachsendes gesellschaftliches Problem: die gesundheitlichen Folgen von zu viel Sitzen. Durch die Kombination aus Funktionalität, ästhetischem Design und vielseitigen Einsatzmöglichkeiten hat die Stehwippe das Potenzial, eine breite Zielgruppe anzusprechen, von Büromitarbeitern bis hin zu Schülern.
Der Erfolg von Backboon wird jedoch nicht allein durch die Qualität des Produkts bestimmt. Entscheidend ist, wie gut sich die Marke und die zugrunde liegende Idee am Markt positionieren und gegen Nachahmer schützen lassen. Ein durchdachtes Schutzrechtsportfolio – bestehend aus Designschutz, Patenten oder Gebrauchsmustern und einer starken Markenstrategie – kann hier den Unterschied machen und langfristig dazu beitragen, den Wettbewerbsvorteil zu sichern.
Darüber hinaus zeigt Backboon, dass Innovation nicht immer ein völlig neues Konzept sein muss. Oft reicht es, bestehende Ideen weiterzudenken und sie an die Bedürfnisse der heutigen Zeit anzupassen. Genau hierin liegt der wahre Wert von Backboon: Es kombiniert bekannte Prinzipien wie Bewegung und Ergonomie zu einem modernen, alltagstauglichen Produkt, das Menschen dabei hilft, gesünder zu leben.
Mit der Unterstützung aus Die Höhle der Löwen und einer cleveren Schutzrechtsstrategie hat Backboon das Potenzial, eine echte Erfolgsgeschichte zu schreiben – sowohl in der Welt der ergonomischen Hilfsmittel als auch im Bereich moderner Produktinnovationen.
Für mehr IP made in Germany® – kontaktieren Sie uns.
Disclaimer: Der vorstehende Beitrag spiegelt die persönliche Auffassung des Autors wider. Die im Beitrag vorgenommen Einschätzungen und Ausführungen stellen keine Rechtsberatung dar und werden unter Ausschluss jeglicher Haftung zur Verfügung gestellt. Wenn Sie eine patentrechtliche Prüfung Ihres Einzelfalls benötigen, so wenden Sie sich gerne an den Autor und/oder die Kanzlei KUHNEN & WACKER.
Weitere Neuigkeiten und
Beiträge von K&W
Starten Sie Ihre Karriere bei K&W und werden Sie Teil unseres Teams
Sie sind einsatzfreudig und flexibel? Arbeiten gerne selbständig und sind bereit Verantwortung zu übernehmen? Dann sind Sie bei K&W genau richtig. Unsere Personalreferentin Elwine Kaschner freut sich auf Ihre Bewerbung.