Blog: Bobsla –
Innovation trifft Wintersport
27.03.2026
Die Höhle der Patente
In der bekannten Gründershow „Die Höhle der Löwen“ werden regelmäßig innovative Produkte vorgestellt, die bestehende Märkte neu denken oder völlig neue Anwendungsbereiche erschließen.
Mit Bobsla wagte sich ein Start-up auf bislang wenig erschlossenes Terrain: ein elektrisches, leichtes und intuitiv steuerbares Schneemobil, das Wintersport, Nachhaltigkeit und modernes Design miteinander verbindet.
Bobsla richtet sich nicht nur an Extremsportler, sondern an eine breite Zielgruppe – von Wintersport-Enthusiasten über Tourismusbetriebe bis hin zu Outdoor-Fans, die emissionsfrei und leise im Schnee unterwegs sein möchten.
Der Auftritt bei „Die Höhle der Löwen“ verschaffte Bobsla genau die Aufmerksamkeit, die ein hardwarebasiertes Start-up benötigt. In der Sendung konnten die Gründer nicht nur das Produkt präsentieren, sondern auch ihre Vision eines nachhaltigen Wintersports vermitteln.
„Die Höhle der Löwen“ bietet jungen Unternehmen dabei weit mehr als nur Kapital:
Mediale Reichweite, strategisches Know-how und Zugang zu Netzwerken sind oft der entscheidende Hebel, um innovative Produkte erfolgreich im Markt zu etablieren.
Die Idee hinter Bobsla
Die Gründer von Bobsla verfolgten ein klares Ziel: Schneemobilfahren neu zu definieren. Klassische Schneemobile sind laut, schwer, wartungsintensiv und werden überwiegend mit Verbrennungsmotoren betrieben. Gleichzeitig wächst das Bewusstsein für nachhaltige Mobilitätskonzepte – auch im Freizeit- und Tourismusbereich.
Bobsla setzt genau hier an: Ein kompaktes, elektrisches Schneefahrzeug, das sich leicht transportieren lässt, intuitiv bedienbar ist und dabei völlig emissionsfrei fährt. Die Vision dahinter ist es, Wintersport zugänglicher, leiser und umweltfreundlicher zu gestalten – ohne auf Fahrspaß zu verzichten.
Elektrische Schneemobile und Wintersport:
Was gibt es bereits?
Der Markt für Schneemobile ist traditionell geprägt von großen, schweren Fahrzeugen mit Benzinantrieb. Elektrische Alternativen sind bislang kaum verbreitet und häufig entweder sehr teuer oder auf professionelle Spezialanwendungen beschränkt.
Bekannte Alternativen im Überblick:
- Klassische Schneemobile: Hohe Leistung, aber laut, schwer und emissionsintensiv
- Snowbikes & Skibobs: Sportlich, jedoch körperlich anspruchsvoll und nicht motorisiert
- Elektrische Prototypen: Oft schwer, komplex oder nicht serienreif
Bobsla positioniert sich zwischen diesen Welten und kombiniert elektrischen Antrieb, geringes Gewicht und einfache Handhabung in einem Produkt.
Was macht Bobsla besonders?
Bobsla überzeugt durch eine Reihe klarer Alleinstellungsmerkmale:
- Elektrischer Antrieb: Leise, emissionsfrei und wartungsarm
- Kompaktes & leichtes Design: Einfacher Transport, auch im Kofferraum möglich
- Intuitive Steuerung: Niedrige Einstiegshürde, auch für Einsteiger geeignet
- Modularer Aufbau: Fokus auf Funktionalität und Alltagstauglichkeit
- Nachhaltigkeitsgedanke: Kein Benzin, kein Öl, keine Abgase
- Einsatzvielfalt: Freizeit, Wintersportgebiete, Verleih, Tourismus
Gerade für Skigebiete und touristische Anbieter eröffnet Bobsla neue Möglichkeiten, lautlose Wintererlebnisse anzubieten, ohne Natur und Umgebung zu belasten.
Bobsla Patentanmeldung (EP3802304A1)
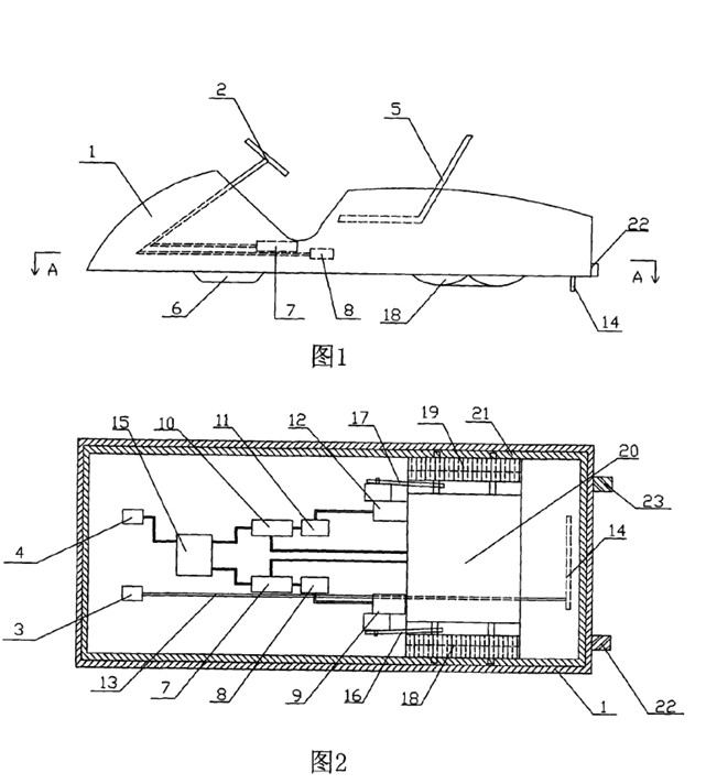
Die Bobsla-Patentanmeldung betrifft ein motorisiertes Schnee- oder Eisfahrzeug mit einem Körper 1, einer an der Unterseite des Körpers 1 angeordneten Gleitfläche 2, einem ersten Rad 3 (oder ersten Endloslaufband) an einer Fahrzeugseite sowie einem zweiten Rad 3’ (oder zweiten Endloslaufband) an der gegenüberliegenden Fahrzeugseite (vgl. Figs. 1 und 2 der Bobsla-Patentanmeldung). Zentrales Merkmal der Bobsla-Patentanmeldung ist, dass die Gleitfläche 2 stets Bodenkontakt aufweist, unabhängig davon, ob die Räder 3, 3’ (oder Endloslaufbänder) angehoben oder abgesenkt sind. Die Gleitfläche 2 wird vollständig durch den Körper 1 gebildet und ist im vorderen Bereich des Schnee-/Eisfahrzeugs angeordnet, während die Räder oder Endloslaufbänder im hinteren Bereich des Schnee-/Eisfahrzeugs angeordnet sind.

[Figs. 1 und 2 der Bobsla-Patentanmeldung]
CN201165242Y (D1) betrifft ein elektrisches Eisfahrzeug mit einem Gehäusekörper 1, an dessen Unterseite Eisklingen 6 angeordnet sind (vgl. Figs. 1 und 2 der D1). Zwei seitliche Antriebseinheiten treiben jeweils über Ketten Laufrollen an, die mit seitlich angeordneten Laufbändern zusammenwirken. Die Eisklingen 6 stellen punktuelle Gleitelemente dar; der Gehäusekörper 1 selbst ist nicht als durchgehende Gleitfläche ausgebildet, die unabhängig vom Fahrwerkszustand permanent Bodenkontakt aufweist.

[Figs. 1 und 2 der D1]
US2967578A (D2) beschreibt ein Fahrzeug mit Endloslaufband mit Trag- und Antriebseinheiten 25, mehreren Stützrädern 17, einem Längsrahmenelement 14 sowie komplexen Federungs- und Antriebsmechanismen zur Neigung und Höhenverstellung der Endloslaufbänder (vgl. Figs. 1 bis 4 der D2). Der Schwerpunkt liegt auf verstellbaren Fahrwerksstrukturen und mechanischer, hydraulischer oder gelenkbasierter Kraftübertragung.

[Figs. 1 bis 4 der D2]
US2683608A (D9) offenbart ein kombiniertes Schnee- und Straßenfahrzeug mit hinteren Rädern 18 sowie zusätzlichen Schneeschaufelrädern 23, die im hinteren Bereich des Fahrzeugs angeordnet sind (vgl. Fig. 2 der D9). Die Schneeschaufelräder 23 sind über Lenk- und Hebelmechanismen relativ zum Fahrzeugkörper 2 anheb- und absenkbar. Der Fahrzeugkörper ist nicht als durchgehende Gleitfläche ausgebildet, die unabhängig vom Fahrwerkszustand stets Bodenkontakt hat.

[Fig. 2 der D9]
Der entscheidende technische Unterschied der Bobsla-Patentanmeldung liegt darin, dass die Gleitfläche 2 des Körpers 1 stets Bodenkontakt aufweist und das tragende Bodenkontaktelement des Fahrzeugs bildet, unabhängig von der Stellung der Räder 3, 3’ (oder Endloslaufbänder). In D1 erfolgt der Bodenkontakt über punktuelle Eisklingen 6, in D2 über Endloslaufbänder 22, und in D9 über Räder 18 oder Schneeschaufelräder 23, wobei der jeweilige Fahrzeugkörper nicht als durchgehende, ständig bodenkontaktierende Gleitfläche ausgebildet ist. Demgegenüber verbleibt bei der Bobsla-Patentanmeldung die Gleitfläche 2 des Körpers 1 dauerhaft in Kontakt mit dem Untergrund, während die Räder 3, 3’ (oder Endloslaufbänder) ausschließlich für Antrieb, Lenkung und Bremsen vorgesehen sind und den Bodenkontakt der Gleitfläche 2 nicht ersetzen.
Fazit
Bobsla steht beispielhaft für eine neue Generation von Wintersportprodukten: elektrisch, nachhaltig und nutzerfreundlich. Das Start-up zeigt, dass Innovation auch in traditionellen Märkten wie dem Schneemobilsegment möglich ist – und dass Fahrspaß und Umweltbewusstsein sich nicht ausschließen.
Der Auftritt bei „Die Höhle der Löwen“ markiert einen wichtigen Meilenstein auf dem Weg zur Marktdurchdringung. Mit einem klaren Fokus auf Design, Technik und Nachhaltigkeit besitzt Bobsla das Potenzial, den Wintersport langfristig zu verändern.
Für mehr IP made in Germany® – kontaktieren Sie uns.
Disclaimer: Der vorstehende Beitrag spiegelt die persönliche Auffassung des Autors wider. Die im Beitrag vorgenommen Einschätzungen und Ausführungen stellen keine Rechtsberatung dar und werden unter Ausschluss jeglicher Haftung zur Verfügung gestellt. Wenn Sie eine patentrechtliche Prüfung Ihres Einzelfalls benötigen, so wenden Sie sich gerne an den Autor und/oder die Kanzlei KUHNEN & WACKER.
Weitere Neuigkeiten und
Beiträge von K&W
Starten Sie Ihre Karriere bei K&W und werden Sie Teil unseres Teams
Sie sind einsatzfreudig und flexibel? Arbeiten gerne selbständig und sind bereit Verantwortung zu übernehmen? Dann sind Sie bei K&W genau richtig. Unsere Personalreferentin Elwine Kaschner freut sich auf Ihre Bewerbung.