Blog: Backboon –
a piece of furniture that brings movement into everyday life
16.12.2025
Shark Tank of Patents
In the October 7, 2024 episode of the TV show "Die Höhle der Löwen" (counterpart to shark tank), Volker Groß presented his innovative standing rocker Backboon, which aims to counteract the health consequences of sitting for long periods of time. But how innovative is this concept really, and which intellectual property rights could be relevant here?
What is Backboon?
Backboon is a dynamic standing aid that keeps the body in motion by gently rocking, thus reducing the negative effects of sitting for long periods. It promotes better posture, strengthens the supporting muscles and improves breathing. It can be used in various areas such as offices, waiting rooms, living rooms, children's rooms, schools and companies.
Innovation or further development?
Standing aids and rocking chairs are established products that have been on the market for years and are used in a variety of ways. They are designed to improve ergonomics at work or in everyday life, promote good posture and encourage a healthier way of sitting and standing. Such products range from classic standing aids that relieve the weight of the body when standing to rocking chairs that enable a dynamic sitting posture by encouraging slight movements and thus preventing tension. In detail, for example, there are:
- Classic standing aids: These are often used in offices or at standing workstations. They offer a flexible seating option that allows the user to switch between sitting and standing. A well-known example of this is the Muvman from Aeris, which offers a flexible seat and height-adjustable options.
- Rocking chairs: These include models such as the Balans chair from Varier. These chairs support an ergonomic sitting position through a design that offers a slight forward tilt of the seat while also promoting mobility through rocking.
- Combination solutions: There are also multifunctional products that can switch between sitting and standing options, such as height-adjustable office stools that can be used both as a seat and as a standing aid.
- Specialized designs: For specific needs, such as for children in schools, there are ergonomic chairs and standing aids that are tailored to the requirements of growing bodies.
Differentiation through Backboon
What makes Backboon unique is the combination of these already familiar approaches into an innovative, multifunctional product. While many existing solutions focus on either sitting or standing comfort, Backboon combines several advantages in one product:
- Well-thought-out ergonomic design: Backboon combines modern ergonomic findings with a stylish and appealing design that blends into different environments.
- Encouraging movement: In addition to static sitting and standing positions, Backboon actively encourages movement that promotes blood circulation and dynamically challenges the body.
- Versatile: Unlike many traditional products, Backboon is not limited to a specific target group (such as office workers), but is also suitable for schools, home offices or the home.
In summary, Backboon is not so much a reinvention of the category as an innovative advancement that combines proven concepts to create real added value for the user.
Prior Art
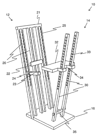
Numerous standing aids are already known from the prior art that are designed to help people adopt a more ergonomic posture or reduce the strain caused by standing for long periods. However, these solutions all have one central feature: The standing surface of these standing aids is always static or rigidly supported. This means that they have no dynamic properties that would actively encourage the user to move.
A closer look at the prior art confirms this. There are several standing aids in it, in which, however, the respective standing surface does not provide any rocking properties (see Fig. 2 of D1, Fig. 6 of D2 and Fig. 2 of D3). In other words, the prior art only describes static solutions that leave the user in a fixed position without actively encouraging them to move or balance.

[Fig. 2 of D1]

[Fig. 6 of D2]

[Fig. 2 of D3]
This reveals a gap in previous technology: The focus is on stability and support, while the dynamic aspects of promoting movement and training the muscles are neglected.
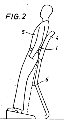
The Patent (DE102017120240B4)
Backboon addresses this gap with its innovative approach, in which the standing surface has specific rocking properties to encourage the user to make active, micro-dynamic movements.
The Backboon replaces the static/rigid bearing from the prior art with a dynamic bearing.
More specifically, a particular aspect of this (see claim 1 of the Backboon patent) is that a curved support structure 12 allows the leaning person to rock in order to vary the inclination of the longitudinal axis of the person's body (see FIG. 1 of the Backboon patent).

[Fig. 1 of the Backboon patent.]
Conclusion
Backboon is more than just another ergonomic product - it is a response to a growing social problem: the health consequences of too much sitting. With its combination of functionality, aesthetic design and versatility, the standing rocker has the potential to appeal to a wide target group, from office workers to schoolchildren.
However, the success of Backboon is not determined solely by the quality of the product. The decisive factor is how well the brand and the underlying idea can be positioned on the market and protected against imitators. A well thought-out property rights portfolio - consisting of design protection, patents or utility models and a strong brand strategy - can make the difference here and help to secure a competitive advantage in the long term.
Backboon also shows that innovation does not always have to be a completely new concept. It is often enough to take existing ideas further and adapt them to today's needs. This is where the true value of Backboon lies: it combines well-known principles such as movement and ergonomics into a modern, everyday product that helps people to live healthier lives.
With support from Die Höhle der Löwen and a clever property rights strategy, Backboon has the potential to write a real success story - both in the world of ergonomic aids and in the field of modern product innovations.
For IP made in Germany® – contact us.
Disclaimer: The above contribution reflects the personal opinion of the author. The assessments and statements made in the article do not constitute legal advice and are provided under exclusion of any liability. If you need an assessment of an individual case, please contact the author and/or the law firm KUHNEN & WACKER.
その他のニュースや
K&Wからの情報
K&Wでキャリアをスタートさせ、チームの一員になりませんか?
チャレンジ精神と柔軟性に富んでいると自覚していますか?自分から率先して責任のある仕事に係わりたいですか?それなら当事務所は最適な職場です。