Blog: bideo –
Die Toilettenpapierhalterung
mit integriertem Papierbefeuchter
29.04.2026
Einleitung
In der neunten Staffel der beliebten Gründershow "Die Höhle der Löwen" präsentierte Thorsten Homma am 22. März 2021 sein innovatives Produkt bideo. Der Toilettenpapierhalter mit Befeuchtungsfunktion überzeugte Investor Ralf Dümmel, der sich einen Deal sicherte.
Mit bideo wird herkömmliches Toilettenpapier auf Wunsch befeuchtet, was eine umweltfreundliche und hautschonende Alternative zu feuchtem Toilettenpapier darstellt.
bideo verwandelt herkömmliches Toilettenpapier in Feuchtpapier, ist aber auch für den Trockengebrauch geeignet. bideo wird dabei wie ein normaler Toilettenpapierhalter an der Wand befestigt. Die Verwendung ist relativ simpel und lässt sich in den folgenden vier Punkten zusammenfassen:
- Nach oben abziehen und das Papier bleibt trocken
- Nach unten abziehen und das Papier wird punktuell befeuchtet
- Langsam ziehen = wenig Wasser
- Schneller ziehen = mehr Wasser
Die Idee hinter bideo
Thorsten Homma erkannte die Nachteile von feuchtem Toilettenpapier, insbesondere die Umweltbelastung und mögliche Hautreizungen durch chemische Zusätze. Sein Ziel war es, eine Lösung zu entwickeln, die diese Probleme umgeht und dennoch den Komfort von befeuchtetem Toilettenpapier bietet. Nach intensiver Entwicklungsarbeit entstand bideo, ein Toilettenpapierhalter, der normales Toilettenpapier bei Bedarf befeuchtet und somit eine nachhaltige Alternative darstellt.
Feuchtes Toilettenpapier und Alternativen:
Was gibt es bereits?
Auf dem Markt gibt es zahlreiche Produkte, die die Nutzung von feuchtem Toilettenpapier ersetzen oder ergänzen sollen. Hier ein Überblick:
- Klassische Feuchttücher: Einfach in der Anwendung, aber problematisch für die Umwelt, da viele Produkte Mikroplastik enthalten und Abwassersysteme belasten.
- Bidets: Eine hygienische und nachhaltige Alternative, die in vielen Kulturen verbreitet ist. Allerdings ist ein Bidet teuer in der Anschaffung und oft platzintensiv.
- Intimreinigungsschäume: Diese Produkte, wie z. B. RINGANA FRESH stay fresh, werden auf trockenes Toilettenpapier aufgetragen. Sie sind umweltfreundlich und verzichten auf schädliche Chemikalien.
- Öle für die Reinigung: Naturöle wie Kokos- oder Mandelöl können auf Toilettenpapier aufgetragen werden und bieten eine sanfte und nachhaltige Reinigung.
- Gel-basierte Lösungen: Feuchtigkeitsspendende Gele werden direkt auf das Papier aufgetragen, was eine individuelle Dosierung erlaubt.
- Wiederverwendbare Feuchttücher: Waschbare Alternativen sind besonders umweltfreundlich, erfordern jedoch eine intensivere Reinigung.
Was macht bideo einzigartig?
bideo zeichnet sich durch seine einfache Handhabung und Flexibilität aus:
- Trockenes Abziehen: Zieht man das Papier nach oben ab, bleibt es trocken.
- Befeuchtetes Abziehen: Zieht man das Papier nach unten, wird es punktuell befeuchtet.
- Wassermenge regulieren: Die Geschwindigkeit des Abziehens bestimmt die Feuchtigkeitsmenge – langsames Ziehen resultiert in weniger, schnelles Ziehen in mehr Wasser.
Ein großer Vorteil:
Im Gegensatz zu herkömmlichem feuchtem Toilettenpapier erhöht die innovative Technik die Reißfestigkeit des Papiers, da eine gleichmäßige Querverteilung der Feuchtigkeit vermieden wird.
Patent zu bideo (EP3275355B1)
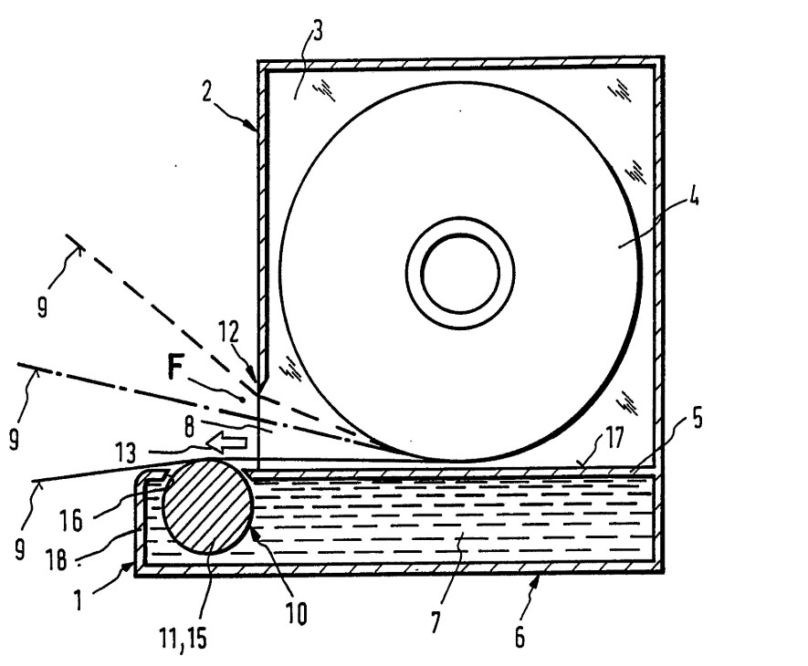
Unter Anbetracht bisheriger Toilettenpapiervorrichtungen hat bideo die Besonderheit, dass deren Papierspendervorrichtung eine Papierbahn von einer Papierrolle 5 kommend zwischen einer gegen die Schwerkraft drückenden Druckwalze 3 und mehreren darunter befindlichen und zueinander benachbarten Befeuchtungsrollen 11 verläuft, die wiederum voneinander verschobene Dellen 10 im Außenbereich aufweisen (vgl. Fig. 1 des bideo Patents).

[Fig. 1 des bideo Patents]
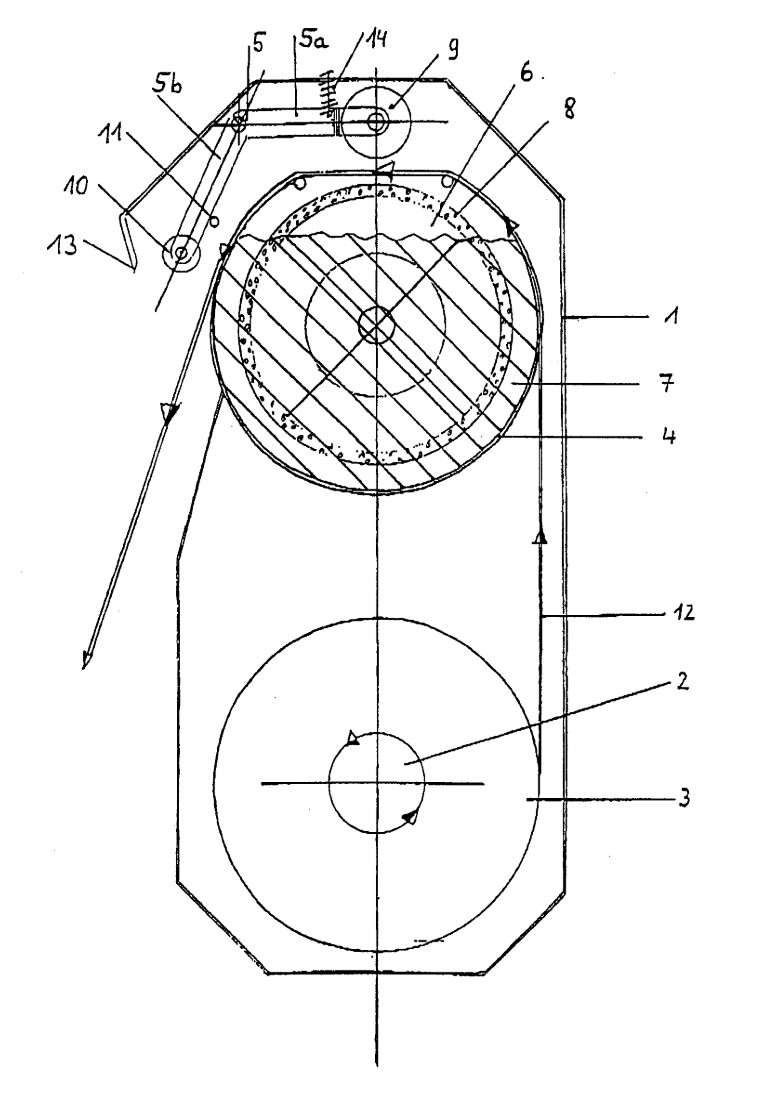
Im Stand der Technik D2 (WO9208403A1) wird ein ähnlich geartetes Ausgabegerät 1 vorgeschlagen, das mittels einer in einem Vorratsbehälter 6 gelagerten Rolle 15 ein Bahnabschnitt 9 einer Materialbahn 4 mit einem Behandlungsstoff 7 benässt werden kann, wenn der Bahnabschnitt nach unten gezogen wird (vgl. Fig. 1 der D2).
Nachteilig hieran ist die sich in Querrichtung des Bahnabschnitts 9 ergebende gleichmäßig verteilte Nässe.
Eine solche gleichmäßige Querverteilung der Nässe wird bei bideo durch den unterschiedlichen Versatz der Dellen 10 (siehe Fig. 1 des bideo Patents) verhindert, was so zu einer besseren Reißfestigkeit des Papiers führt.

[Fig. 1 der D2]
Im weiteren Stand der Technik D1 (EP1107685A1) wird ein Papierspender offenbart, der eine Feuchtwalze 6 aufweist, die an ihrem Umfang mit einem Saugbelag 8 versehen ist (siehe Fig. 1 der D1).

[Fig. 1 der D1]
Diese Ausgestaltung würde in Zusammenschau mit D2 das Problem der Querbenässung erheblich verstärken.
Der bideo Toilettenpapierhalter mit Befeuchtungsfunktion ermöglicht die Verwendung von normalem Toilettenpapier, das bei Bedarf punktuell befeuchtet werden kann. Im Gegensatz zu herkömmlichen Vorrichtungen bietet der bideo eine verbesserte Reißfestigkeit des Papiers durch eine spezielle Anordnung der Befeuchtungselemente, die eine gleichmäßige Querverteilung der Feuchtigkeit verhindert.
Fazit
bideo ist eine echte Innovation aus „Die Höhle der Löwen“ und bietet eine nachhaltige und umweltfreundliche Lösung für die tägliche Hygiene. Es kombiniert einfache Bedienung, cleveres Design und einen positiven Einfluss auf die Umwelt.
Für alle, die smarte und nachhaltige Produkte suchen, ist bideo ein Must-have.
Die Teilnahme bei „Die Höhle der Löwen“ hat bideo die entscheidende Aufmerksamkeit verschafft, die jedes Start-up in der frühen Phase benötigt. Die Kombination aus medialer Reichweite, Kapital und der Expertise eines Investors schafft ideale Voraussetzungen, um eine Idee erfolgreich am Markt zu etablieren. Mit dem richtigen Schutzrecht wird dieser Markt gesichert.
Für mehr IP made in Germany® – kontaktieren Sie uns.
Disclaimer: Der vorstehende Beitrag spiegelt die persönliche Auffassung des Autors wider. Die im Beitrag vorgenommen Einschätzungen und Ausführungen stellen keine Rechtsberatung dar und werden unter Ausschluss jeglicher Haftung zur Verfügung gestellt. Wenn Sie eine patentrechtliche Prüfung Ihres Einzelfalls benötigen, so wenden Sie sich gerne an den Autor und/oder die Kanzlei KUHNEN & WACKER.
Weitere Neuigkeiten und
Beiträge von K&W
Starten Sie Ihre Karriere bei K&W und werden Sie Teil unseres Teams
Sie sind einsatzfreudig und flexibel? Arbeiten gerne selbständig und sind bereit Verantwortung zu übernehmen? Dann sind Sie bei K&W genau richtig. Unsere Personalreferentin Elwine Kaschner freut sich auf Ihre Bewerbung.