Blog: Akku Life Guard –
the first
smart socket
27.11.2025
Shark Tank of Patents
In season 17, episode 7 of the VOX start-up show "Die Höhle der Löwen" (Shark Tank counterpart), which aired on June 16, 2025, the start-up Natune – founded by Hans-Peter Nägele, Andreas Tutschner, and Christoph Tutschner – presented its clever product, Akku Life Guard.
The idea behind Akku Life Guard
The founding team from the Allgäu region identified an everyday problem: batteries used in e-bikes, smartphones, and cordless screwdrivers age prematurely due to constant overcharging and standby maintenance charging. This charging habit not only causes unnecessary power consumption, but can also pose safety risks, such as the risk of fire due to overheating.
This problem gave rise to the idea of an intelligent socket adapter: a device that is connected between the socket and the charger, monitors the charging process, and completely disconnects the power supply when the battery is full. The principle: no unnecessary power consumption, longer battery life, and greater safety. What began as a home office project developed systematically - from initial trials to market readiness and finally to a pitch on the German counterpart TV show "Shark Tank".
Key pitfalls along the way included differentiating the product from existing smart sockets, ensuring accuracy with different charging profiles (e.g., inductive vs. wired), and guaranteeing reliable shutdown in all use cases (e.g., with multiple sockets). A functioning prototype that responded reliably was therefore essential.
What already exists in this area?
There are numerous smart sockets and timers on the market that can be controlled via an app or switched off via a timer. However, such systems do not solve the core problem: they do not automatically detect the charging status of a battery. Many devices continue to charge overnight or remain in trickle charge mode, which is inefficient and potentially dangerous.
Some products offer time control or consumption measurement, but no independent, battery-based shutdown. A comparison shows that most established solutions rely on predefined shutdown times rather than intelligent pattern recognition in the charging profile. This results in unnecessary charging cycles, higher electricity costs, and faster battery wear.
Tests by specialist portals such as Stern, Netzwelt, Chip, and Merkur clearly highlight that the Akku Life Guard is the first socket that switches off automatically as soon as the battery is full, combined with a safety shut-off in the event of faults or overheating.
What makes Akku Life Guard special?
The Akku Life Guard is not just a smart socket, but an intelligent switching device that reacts autonomously – without an app, timer, or internet connection. Users select one of three charging modes using a mechanical slide switch:
- Extended Lifetime Mode (green): Charges to approx. 70–90% which protects the battery cells, avoids trickle charging and can significantly extend the service life.
- Fully Charge Mode (red): Full charge to 100% with subsequent automatic disconnection from the mains.
- Socket Mode (orange): Normal power outlet without charge monitoring.
The device really stands out in Extended Mode: it stops charging when the battery recognizes the specific charging pattern and avoids unnecessary charging cycles – studies show that this can significantly extend the service life of lithium-ion batteries, often doubling it.
Particularly noteworthy: no app, no Wi-Fi. The device is completely self-sufficient, mechanically and offline. This guarantees operational reliability and data protection as well as robust, simple user guidance.
Akku Life Guard patent application (EP4047779A1)
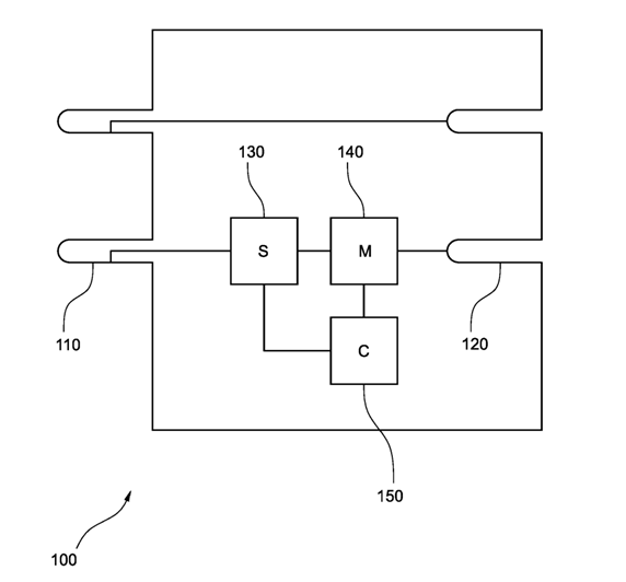
The patent application concerns a switching device (100) for a charger (300) for a battery, the switching device (100) comprising an input unit (110) for receiving an electric input current, an output unit (120) for providing an electric output current to the charger (300), a switch (130) for switching off the electric output current, and a controller (150) for controlling the switch (130) based on a state of charge of the battery, which state is determined by the controller (150) based on the electric output current (cf. Fig. 1 of the Akku Life Guard Patent Application).

[Fig. 1 of the Akku Life Guard Patent Application]
In contrast, conventional techniques such as in D1 disclose a power source control unit (PSCU 0710) for a battery charger power supply (BCPS 0730) for a battery (0740), where the PSCU (0710) includes a plug (0718), a socket (0719), a circuit switch (0715), and a microprocessor (0711) that monitors the charge profile of the BCPS (0730) and controls the switch (0715) (cf. Fig. 7 of D1: US20130214730A1).

[Fig. 7 of D1]
The outstanding feature of the Akku Life Guard compared to D1 lies in operating a neural network trained to determine a progression of measured power characteristic values on the basis of one or more reference electrical output curves of a battery and/or battery/charger pair(s).
This provides advanced pattern recognition and improves the overall performance of the battery charger compared to conventional art.
Conclusion
The control logic, which is based in particular on neural pattern recognition, clearly sets itself apart from previous solutions and offers real added value for all users of modern battery technology. If you are looking for longer battery life, safety, and energy efficiency, the Akku Life Guard is a mature, practical product.
For IP made in Germany® – contact us.
Disclaimer: The above contribution reflects the personal opinion of the author. The assessments and statements made in the article do not constitute legal advice and are provided under exclusion of any liability. If you need an assessment of an individual case, please contact the author and/or the law firm KUHNEN & WACKER.
その他のニュースや
K&Wからの情報
K&Wでキャリアをスタートさせ、チームの一員になりませんか?
チャレンジ精神と柔軟性に富んでいると自覚していますか?自分から率先して責任のある仕事に係わりたいですか?それなら当事務所は最適な職場です。