Blog: Akku Life Guard –
die erste intelligente
Steckdose
27.11.2025
Die Höhle der Patente
In Staffel 17, Folge 7 der VOX‑Gründershow „Die Höhle der Löwen“, die am 16. Juni 2025 ausgestrahlt wurde, präsentierte das Startup Natune – gegründet von Hans‑Peter Nägele, Andreas Tutschner und Christoph Tutschner – das clevere Produkt Akku Life Guard.
Die Idee hinter Akku Life Guard
Das Gründerteam aus dem Allgäu erkannte ein alltägliches Problem: Akkus, wie sie in E‑Bikes, Smartphones oder Akkuschraubern eingesetzt werden, altern vorzeitig durch ständige Überladung und Standby‑Erhaltungsladung. Diese Ladegewohnheit verursacht nicht nur unnötigen Stromverbrauch, sie kann auch Sicherheitsrisiken bergen, etwa Brandgefahr bei Überhitzung.
Aus diesem Problem entstand die Idee eines intelligenten Steckdosenadapters: Ein Gerät, das zwischen Steckdose und Ladegerät geschaltet wird, den Ladevorgang überwacht und bei voller Batterie die Stromzufuhr komplett trennt. Das Prinzip: kein unnötiger Stromverbrauch, längere Akkulebensdauer und mehr Sicherheit. Was als Homeoffice‑Projekt begann entwickelte sich systematisch weiter – von ersten Versuchen zur Marktreife und schließlich zum Pitch in der Höhle der Löwen.
Entscheidende Fallstricke auf dem Weg: Die Differenzierung zu bestehenden Smart‑Steckdosen, Genauigkeit bei unterschiedlichen Ladeprofilen (z. B. induktiv vs. kabelgebunden), und die Sicherstellung zuverlässiger Abschaltung in allen Nutzungsfällen (z. B. bei Mehrfachsteckdosen). Ein funktionierender Prototyp, der zuverlässig reagiert, war deswegen essenziell.
Was gibt es in diesem Bereich bereits?
Im Markt existieren zahlreiche smarte Steckdosen und Zeitschaltuhren, die etwa per App gesteuert oder via Timer abgeschaltet werden können. Doch solche Systeme lösen nicht das Kernproblem: Sie erkennen nicht automatisch den Ladestatus eines Akkus. Viele Geräte laden über Nacht weiter oder verharren in Erhaltungsladung, sind ineffizient und potenziell gefährlich.
Einige Produkte bieten zwar Zeitsteuerung oder Verbrauchsmessung, aber keine selbständige, akkubasierte Abschaltung. Ein Vergleich zeigt: Die meisten etablierten Lösungen verlassen sich auf vordefinierte Abschaltzeitpunkte, nicht aber auf intelligente Mustererkennung im Ladeprofil. So entstehen unnötige Ladezyklen, höhere Stromkosten und ein schnellerer Akkuverschleiß.
In Tests von Fachportalen wie Stern, Netzwelt, Chip oder Merkur wird deutlich hervorgehoben: Der Akku Life Guard ist die erste Steckdose, die automatisch abschaltet, sobald der Akku voll ist, kombiniert mit einer Sicherheitsabschaltung bei Fehlzuständen oder Überhitzung.
Was macht Akku Life Guard besonders?
Der Akku Life Guard ist nicht einfach eine Smart Steckdose, sondern eine intelligente Schaltvorrichtung, die autonom reagiert, ganz ohne App, Zeitschaltuhr oder Internetverbindung. Über einen mechanischen Schiebeschalter wählen Nutzer die drei Lade Modi:
- Extended Lifetime Mode (grün): Laden bis ca. 70–90 %, was die Akkuzellen schont, Erhaltungsladung vermeidet und die Lebensdauer deutlich verlängern kann,
- Fully Charge Mode (rot): Komplettladung bis 100 % mit anschließender automatischer Netztrennung,
- Socket Mode (orange): Normale Steckdose ohne Ladeüberwachung.
Vor allem im Extended Mode hebt sich das Gerät ab: Es stoppt den Ladevorgang, wenn die Batterie den spezifischen Ladeverlauf erkennt, und vermeidet unnötige Ladezyklen. Studien belegen, dass die Lebensdauer von Lithium-Ionen-Akkus so deutlich verlängert werden kann, oft bis zur Verdopplung.
Besonders erwähnenswert: Keine App, kein WLAN. Das Gerät ist mechanisch und offline vollständig autark. Das garantiert Bedienungssicherheit und Datenschutz sowie robuste, einfache Nutzerführung.
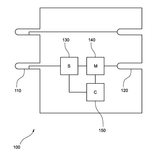
Akku Life Guard Patentanmeldung (EP4047779A1)
Die Patentanmeldung betrifft eine Schaltvorrichtung (100) für ein Batterieladegerät (300), wobei die Schaltvorrichtung (100) eine Eingabeeinheit (110) zum Empfangen eines elektrischen Eingangsstroms, eine Ausgabeeinheit (120) zum Bereitstellen eines elektrischen Ausgangsstroms für das Ladegerät (300), einen Schalter (130) zum Abschalten des elektrischen Ausgangsstroms und eine Steuereinheit (150) zum Steuern des Schalters (130) auf der Grundlage eines Ladezustands der Batterie, der von der Steuereinheit (150) auf der Grundlage des elektrischen Ausgangsstroms ermittelt wird (vgl. Fig. 1 der Akku Life Guard Patentanmeldung).

[Fig. 1 der Akku Life Guard Patentanmeldung]
Im Gegensatz dazu offenbaren herkömmliche Techniken wie in D1 eine Stromquellensteuereinheit (PSCU 0710) für eine Batterieladegerät-Stromversorgung (BCPS 0730) für eine Batterie (0740), wobei die PSCU (0710) einen Stecker (0718), eine Buchse (0719), einen Schalter (0715) und einen Mikroprozessor (0711) umfasst, der das Ladeprofil des BCPS (0730) überwacht und den Schalter (0715) steuert (siehe Fig. 7 der D1: US20130214730A1).

[Fig. 7 der D1]
Das herausragende Merkmal des Akku Life Guard im Vergleich zu D1 besteht darin, dass ein neuronales Netzwerk betrieben wird, das darauf trainiert ist, anhand einer oder mehrerer elektrischer Referenzausgangskurven einer Batterie und/oder eines oder mehrerer Batterie-/Ladegerätpaare eine Entwicklung von gemessenen Leistungskennwerten zu bestimmen.
Dies ermöglicht eine erweiterte Mustererkennung und verbessert die Gesamtleistung des Batterieladegeräts im Vergleich zu herkömmlichen Techniken.
Fazit
Die Steuerlogik, die insbesondere auf neuronaler Mustererkennung basiert, hebt sich deutlich von bisherigen Lösungen ab und bietet echten Mehrwert für alle Nutzer moderner Akku-Technologie. Wer auf längere Akkulebensdauer, Sicherheit und Energieeffizienz setzt, erhält mit dem Akku Life Guard ein ausgereiftes, praxistaugliches Produkt.
Für mehr IP made in Germany® – kontaktieren Sie uns.
Disclaimer: Der vorstehende Beitrag spiegelt die persönliche Auffassung des Autors wider. Die im Beitrag vorgenommen Einschätzungen und Ausführungen stellen keine Rechtsberatung dar und werden unter Ausschluss jeglicher Haftung zur Verfügung gestellt. Wenn Sie eine patentrechtliche Prüfung Ihres Einzelfalls benötigen, so wenden Sie sich gerne an den Autor und/oder die Kanzlei KUHNEN & WACKER.
Weitere Neuigkeiten und
Beiträge von K&W
Starten Sie Ihre Karriere bei K&W und werden Sie Teil unseres Teams
Sie sind einsatzfreudig und flexibel? Arbeiten gerne selbständig und sind bereit Verantwortung zu übernehmen? Dann sind Sie bei K&W genau richtig. Unsere Personalreferentin Elwine Kaschner freut sich auf Ihre Bewerbung.